台湾岛位处全球最活跃的板块交界带之一,其地震与断裂活动并非孤立,而是长期地质演化的必然结果。从台湾岛地质图可以清楚看出,处于菲律宾海板块与欧亚板块的强烈汇聚前缘,兼具俯冲、碰撞与构造挤压等多种动力过程,是典型的“活动造山带”。正是在这样的地质背景下,台湾岛发展出密集而复杂的地震断裂带体系,使地震成为台湾自然环境中最重要、也最具风险的地质现象之一。
整体而言,台湾岛的地震断裂带与主要地质构造高度一致,大致沿岛屿长轴呈南北向或北北东—南南西向展布。这些断裂并非单一类型,而是包含逆冲断层、走滑断层及正断层等多种构造形式,分别反映板块挤压、侧向剪切与局部伸展等不同应力状态。西部地区的断裂多发育于山麓带与前陆盆地,常为浅倾角逆冲断层,直接控制地表抬升与褶皱变形;东部纵谷一带则以高角度活动断层为主,是菲律宾海板块与欧亚大陆边缘持续碰撞与错动的集中区;而东北部与外海区域,则明显受到俯冲与弧后张裂作用影响,形成浅源地震频繁的断裂系统。
从地质时间尺度来看,这些地震断裂带并非“突然出现”,而是在数百万年的造山过程中逐步形成并不断被重新激活。记录了台湾岛从海洋俯冲、弧陆碰撞到山脉快速隆升的完整构造历史,也决定了现代台湾岛地震活动在空间上的分带性与重复性。透过地质图、活动断层分布与现代观测资料的综合考量,不仅能够理解台湾岛为何多地震,更能看清这些地震断裂带如何塑造今日的台湾岛地形与地质环境,这正是认识地震风险、提升防灾意识的科学基础。

台湾岛的地质结构可划分为若干彼此独立、但在构造演化上相互关联的地质单元,其整体排列大致呈东西向带状分布。从东向西依次为:海岸山脉、纵谷、塔那瑙片岩带、板岩带、西部山麓以及沿海平原。这一系列单元清楚记录了台湾岛由海洋俯冲向大陆碰撞演化的完整过程。最东侧的海岸山脉(CR)对应于吕宋岛增生火山弧,主要由火山岩与火山沉积岩组成,代表菲律宾海板块的一部分。其西侧的纵谷(LV)被普遍视为吕宋火山弧与中国大陆边缘之间的缝合带,是台湾岛现今构造活动最集中的区域之一,反映两大板块持续碰撞与错动的结果。再向西为塔那瑙片岩杂岩(ECR),该单元主要由欧亚大陆被动边缘的前第三纪变质基底组成,不仅记录了近期的变质事件,也保存了更早期造山作用的构造与变质痕迹。其西侧的板岩带由中国被动大陆边缘的变质沉积物构成,自东向西可进一步分为脊梁山脉(WCR)与雪山山脉(HSR)。其中,脊梁山脉以中新世至始新世板岩为主,是台湾岛上海拔最高的地区;雪山山脉则主要由始新世与渐新世沉积物组成,构造变形明显。
最西侧为地势相对较低的西部山麓(WF),该区为前陆盆地的一部分,同造山沉积物在此堆积并发生褶皱与断裂变形,其西缘过渡至沿海平原(CP),构成台湾现今前陆盆地的主体。整体而言,这些地质单元自东向西的展布,清晰反映了台湾岛造山带由弧—陆碰撞向大陆前缘变形逐步衰减的空间演化特征。

台湾岛主要地质单元。CR:海岸山脉;LV:纵谷;ECR:东中部山脉或塔那瑙片岩杂岩;WCR:西中部山脉或脊梁山脉;HSR:雪山山脉;WF:西部山麓;CP:海岸平原。(来源:中央地质调查局)
了解台湾岛及其周边海域在板块尺度上的构造格局,是理解台湾岛地震频发与构造复杂性的关键图像证据。整体而言,台湾岛位于菲律宾海板块与欧亚板块的汇聚交会区,同时受到俯冲、碰撞与弧后张裂等多重构造作用控制,是全球少数构造机制高度叠加的区域之一。在台湾岛东侧与东北侧海域,菲律宾海板块沿琉球海沟向西北俯冲至欧亚板块之下,形成明显的深海地形起伏、密集的中深源地震以及一系列活动断层。这一俯冲体系向西延伸至宜兰外海与冲绳海槽,并伴随弧后伸展作用,使东北台湾岛成为浅源地震、地热与火山活动并存的构造转换带。
下图中可清楚辨识冲绳海槽的张裂构造与相关正断层系统。在台湾岛东南侧,构造环境发生显著转变,欧亚板块的南海洋壳沿马尼拉海沟向东俯冲至菲律宾海板块之下。该俯冲系统向北逐渐过渡为弧—陆碰撞,并在台湾岛发展为剧烈的造山作用。正是在这一背景下,吕宋火山弧与欧亚大陆边缘发生碰撞,形成台湾岛及其纵谷缝合带。台湾岛本身位于两大俯冲系统之间的构造挤压节点,内部发育大量活动断层与历史强震震源,图中以星号标示的地震清楚沿主要构造带分布。西部为前陆盆地与逆冲—褶皱体系,东部为弧陆碰撞与走滑断层集中区,显示地震活动与构造单元之间的高度对应关系。总体来看,该图揭示台湾岛并非单一板块边界,而是双俯冲体系与碰撞造山交汇的构造关键区。这种独特的板块几何关系,不仅塑造了台湾岛复杂的地形与地质结构,也决定了其地震活动强烈、类型多样且空间分带明显的基本特征。

台湾岛陆海域地质、水深与活动构造图(图源中央地质调查局)

台湾岛前陆盆地底部深度(图源中央地质调查局)

台湾岛海峡及沿海平原中生代基底顶部的深度(图源中央地质调查局)

台湾岛的地震震源位置(图源中央地质调查局)






精密水准测量测线分布图(红色实线为断层位置,蓝色实线为水准路线)(引用自中兴测量公司,2016)

2002年至2016年台湾岛垂直速度场。三角形方向表示抬升或沉降,三角形大小表示速度大小,暖色系表示抬升速率,冷色系表示沉降速率。黑色边框表示精密水准、绿色边框表示连续站、红色边框表示移动站(引用自胡植庆等,2016a)。

使用之大地基准站及GPS连续站分布图(来源:中央地质调查所)

GPS监测点位分布图,约788座GPS移动站(来源:中央地质调查所)

台湾岛相对于澎湖白沙站(S01R)之GPS水平速度场(2002~2015年)(引用自胡植庆等,2016a)

台湾岛相对于澎湖白沙站(S01R)之垂直速度场(2002~2015年)(引用自胡植庆等,2016a)
台湾岛位处菲律宾海板块与欧亚板块的交界地带,是全球地震活动最频繁的区域之一,因此地震发生次数远高于一般大陆地区。根据台湾岛现代地震观测网的统计结果,在目前高密度、全天候监测条件下,台湾岛及其周边海域每年记录到的地震数量可达数万次,其中绝大多数为规模很小的微震,民众并无明显震感。这些微震反映了板块持续挤压与断层长期蠕动释放应变的过程。若以中等规模以上地震作为统计基准,台湾每年约发生 200–300 次规模3级有感地震,平均几乎每2天都会出现至少一次。这类地震多分布于东部纵谷、东北部外海以及西部山麓带,与主要活动断层与板块边界位置高度吻合。其中只有一部分会被民众明显感受到。从有感地震的角度来看,台湾岛平均每年约有 数百次震感事件,实际数量会随地震深度、规模及人口分布而有所变化。总体而言,台湾岛地震“多而不大、大而不常”的特征十分明显,其高频率并非异常,而是岛屿正处于强烈构造应变累积与释放环境下的正常表现。这种持续发生的地震活动,正是台湾造山作用仍在进行中的直接证据。

台湾岛历史地震(图源中央地质调查局)
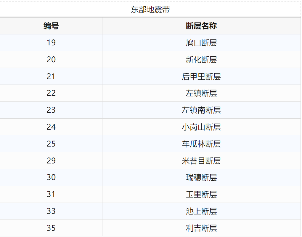
台湾岛已识别 36 条活动断层,其空间分布与地震活动呈现出高度一致的构造分区特征,整体受控于菲律宾海板块与欧亚板块的强烈汇聚与碰撞作用。从区域尺度看,这些断裂带与地震活动可归纳为 西部、东部与东北部三大地震构造带,分别对应不同的构造机制与变形模式。
西部地震带沿台湾岛西部麓山带与前陆盆地分布,自台北南方经台中、嘉义延伸至台南,宽度约 80 公里,是典型的逆冲—褶皱带。该区断层多为浅倾角逆断层与盲断层,承担了中央山脉向西传递的大量缩短量,车笼埔断层、彰化断层等即位于此带,是大陆碰撞背景下地震灾害风险最高的区域之一。东部地震带自宜兰东北外海起,经花莲、成功延伸至台东并指向吕宋岛,宽度约 130 公里,是台湾岛地震活动最为集中的带状区域。这里对应吕宋火山弧与欧亚大陆边缘的缝合与持续碰撞,断层类型以高角度走滑—逆冲复合断层为主,地震频度高、规模大,反映出弧—陆碰撞过程中的强烈应变集中。东北部地震带由琉球岛弧向西南延伸,经过花莲、宜兰至兰阳溪上游一带,主要表现为浅源地震活动,并伴随明显的地热与火山现象(如龟山岛)。该带受控于菲律宾海板块向欧亚板块之下俯冲的弧后伸展环境,与西部与东部以挤压为主的构造机制形成鲜明对比。
总体而言,这 36 条活动断层并非孤立存在,而是嵌套于俯冲、碰撞与弧后伸展并存的复杂板块边界体系中。它们共同记录了台湾岛从海洋俯冲向大陆碰撞过渡的全过程,也决定了台湾岛地震活动在空间上的高度分带性与构造多样性。若从造山动力学角度看,台湾岛正是短期地震循环与长期地壳变形耦合最清晰、也最“残酷”的天然实验场。

台湾岛36条断裂带空间分布(图源中央地质调查局)
西部地震带(碰撞前缘逆冲—褶皱带,约占 1/2 断层数)西部地震带涵盖约 18 条活动断层,主要分布于西部山麓带与前陆盆地,从台北南缘经台中、南投、嘉义延伸至台南一带。该区断层以 低角度逆冲断层与盲断层 为主,整体走向近南北,反映欧亚大陆边缘在弧—陆碰撞背景下持续吸收来自中央山脉的缩短量。代表性断裂包括山脚断层、彰化断层、车笼埔断层、梅山断层、木屐寮断层及六甲断层等。此类断层滑移速率中等但破裂浅、靠近人口密集区,是台湾历史与潜在地震灾害风险最高的构造单元。
东部地震带(弧—陆碰撞与缝合带,高活动性断层集中区)东部地震带包含约 12 条活动断层,沿纵谷构造带及其邻近区域分布,自宜兰东北外海经花莲、瑞穗、成功至台东,并向南衔接吕宋弧体系。该区断层类型复杂,以 高角度走滑—逆冲复合断层 为主,局部伴随正断分量,反映菲律宾海板块与欧亚大陆边缘之间尚未完全终止的碰撞与剪切作用。代表性断裂包括纵谷断层系统、池上断层、瑞穗断层及玉里断层等。该带地震频度最高、能量释放最强,是台湾岛地震构造最“活跃”的区域。
东北部地震带(俯冲—弧后伸展控制的浅源断层带)东北部地震带约包含 6 条活动断层,自琉球岛弧向西南延伸,经花莲北部、宜兰平原至兰阳溪上游地区。该区受菲律宾海板块向欧亚板块之下俯冲及弧后张裂作用控制,断层多为 正断层或正走滑断层,震源浅、规模中小,但与 地热异常与火山活动 密切相关,尤以龟山岛周边最为典型。此类断层虽对造山缩短贡献有限,却是理解台湾岛北部动力学转换与火山—地震耦合过程的关键。综合来看,这 36 条活动断层在三大地震带中的分布并非平均,而是清晰对应 前缘缩短、弧陆碰撞剪切、以及弧后伸展 三种不同的构造域。它们共同构成了台湾岛从俯冲、碰撞到构造分异的完整力学谱系,也解释了台湾岛地震活动在空间上的强烈非均一性。台湾 36 条活动断层按三大地震带分类汇总表
一、台湾岛西部地震带(逆冲—褶皱带,前陆盆地与山麓带)
构造机制:大陆碰撞缩短为主,低角度逆冲与盲断层
断层数量:约 18 条

特征要点:
地震震源浅、破裂接近地表
与人口密集区高度重叠
集集地震为代表性事件
二、台湾岛东部地震带(弧—陆碰撞与缝合带)
构造机制:走滑—逆冲复合型,应变集中
断层数量:约 12 条

特征要点:
台湾岛地震最频繁、能量释放最大的构造带
多为高角度断层,易产生走滑型破裂
反映吕宋弧—欧亚大陆尚未终止的碰撞过程
三、台湾岛东北部地震带(俯冲—弧后伸展区)
构造机制:正断层与正走滑,浅源活动
断层数量:约 6 条

特征要点:
与琉球俯冲系统、弧后张裂有关
多为浅层中小规模地震
伴随地热与火山现象(如龟山岛)

台湾岛36条断裂带空间分布(来源:中央地质调查所)
山脚断层
为正移断层,呈北北东走向,分为2段:南段,自新北市树林向北延伸至台北市北投,长约13公里;北段,自北投向北延伸至新北市金山,长约21公里(丹桂之助,1939;林朝棨,1957;林朝宗,2005;林启文等,2000,2007,2021)。
总结与评估
山脚断层,在台北盆地为冲积层掩覆,依据钻探的岩石纪录,关渡以北地表断层迹位于新庄断层上盘,关渡与新庄之间位于新庄断层下盘,在树林附近消失。台北盆地内山脚断层造成古近纪−新近纪基盘落差,数个剖面呈现阶梯式陷落,其中数个钻井岩芯内未固结沉积物有剪裂带,可能是山脚断层所造成,但仍待岩石证据来佐证。大屯山以北地区,以往所称的「地裂线」或穿过七星山主体、冷水坑与梦幻湖的正断层,而数条正断层可能与山脚断层的阶梯式正断层有关,而此正断层系可能向南连结盆地内的正断层。山脚断层最近一次活动时间,可能在距今约1万年以前。

山脚断层条带地质图(1/5)。图中指示钻探井位与地球物理测线位置(座标系统:TWD97)(36条断裂带均来自中央地质调查所)

山脚断层条带地质图(2/5)。图中指示钻探井位与地球物理测线位置(座标系统:TWD97)

山脚断层条带地质图(3/5)。图中指示钻探井位与地球物理测线位置(座标系统:TWD97)

山脚断层条带地质图(4/5)。图中指示钻探井位与地球物理测线位置(座标系统:TWD97)

山脚断层条带地质图(5/5)。图中指示钻探井位与地球物理测线位置(座标系统:TWD97)
湖口断层
为逆移断层,呈东北东走向,由新竹县湖口向东延伸至桃园县平镇,长约21公里(花井重次,1930;中国石油公司,1978)。
总结与评估
在地形上,湖口断层在杨梅谷地与湖口台地间形成明显的线状崖,线形向东西两端逐渐不明显;以往有许多由地形的研究结果来研判湖口断层有多次的活动纪录,但都缺乏确切的地质证据来辅证。
由野外调查与地质钻探结果,湖口断层在地下截切砾石层;断层在地表的断层迹可能位于紧邻湖口台地北缘线状崖的北侧,断层可能是向斜轴部所形成的逆移断层,但目前为止尚未发现其出露地表的证据,属于盲断层形式或被新期冲积层所掩覆。湖口断层上盘也有发育一些小型断层构造,可能是湖口背斜轴部的正移断层。
由湖口台地面的倾动与定年结果显示,湖口断层可能至少在距今70,000年内曾经活动过。

湖口断层条带地质图。图中指示钻探井位与地球物理测线位置。(座标系统:TWD67)
新竹断层
为逆移断层,由新竹市西方向东延伸至头前溪南岸,约呈东西走向,长约9公里(Pan, 1965;石再添等,1985)。
总结与评估
新竹断层具有地形特征,但缺乏出露地表的证据。由地质钻探结果显示,断层截切更新世晚期的地层,并造成浅部岩层高角度倾斜,因此可能为盲断层形式或断层被新期冲积层所掩覆。微震观测结果显示,靠近新竹都会区下方没有明显微震活动;大地测量结果显示,断层两侧的水平位移速度变化不显著,但有右移趋势。
新竹断层可能截切更新世晚期阶地堆积层。

新竹断层条带地质图。图中指示钻探井位与地球物理测线位置。(座标系统:TWD67)
新城断层
为逆移断层,依地质特性分为2段:北段呈东北东走向,由新竹县芎林乡头前溪向东延伸至关西南方,长约12公里;南段呈东北走向,由新竹县竹东镇头前溪附近向南延伸至苗栗县头份东北方,长约16公里(Tang, 1968;涂明宽与陈文政,1990;张徽正等,1998;林启文等,2005)。
总结与评估
新城断层截切头前溪南岸红土化阶地与低位河阶,愈老的阶面断层两侧崖的高差愈大,可能指示断层多次活动的结果。在飞凤山丘陵除了新城断层露头之外,野外可以由杨梅层的岩性与层态来追踪断层位置,由断层两侧的层位显示断层逆移形式。
由近期的GPS观测资料分析结果,新城断层上盘呈现向西北或西北西方向位移,新城断层下盘则呈现向东南方位移的趋势,断层两侧仍为压缩作用而维持逆移形式。
新城断层截切时代约距今270年前的阶地砾石层,为全新世仍活跃的一条逆移断层。

新城断层条带地质图。图中指示钻探井位与地球物理测线位置。(座标系统:TWD67)
狮潭断层(附神卓山断层)
狮潭断层,为逆移断层,呈北北东走向,由苗栗县狮潭乡竹木村向北延伸至三湾乡大河村的上十股,长约12公里(大江二郎,1936);本断层也称为纸湖地震断层(大冢弥之助,1936)。神卓山断层,位于狮潭断层东方象山至大窝的山棱线,为断续出现的裂缝与小型断层所组成,总长约5公里(大冢弥之助,1936;大江二郎,1936)。
总结与评估
狮潭断层为断层面向西倾约70~85度的逆移断层,与该地区主要逆移断层大多向东南倾斜的现象并不一致。野外调查结果显示,断层在地表并未造成地层的错移,而是在上福基砂岩中的错移现象;由地球物理探勘资料研判,断层在地下可能截切不同的地层,断层造成的移距约数十公尺。由以往的开挖调查则显示,在地表浅处断层的移距约5公尺,超过1935年地震所造成的移距,因此狮潭断层可能有多次的活动纪录。由近期的大地测量结果显示,跨狮潭断层的近期速度场变化,呈现逆移兼具右移的形式。
神卓山断层,在1935年新竹-台中地震时造成地裂、落石与崩塌现象,但这些地裂现象并未连结,且尚未发现有错移地层的证据,无法确定是有明显移距的断层。

狮潭断层条带地质图。图中指示钻探井位与地球物理测线位置。(座标系统:TWD67)
三义断层
为逆移断层,在此分为2段加以说明:北段略呈东西走向,由苗栗县大湖乡大窝,向西延伸经双连潭、重河至三义,长约8公里;南段呈南北走向,由三义向南延伸经鲤鱼口、中城至大甲溪(丹桂之助,1936;张丽旭,1951;Meng, 1963),向南可能延伸至丰原潭子地区,长约25公里。
总结与评估
三义断层北段,三义至大湖之间尚未发现断层截切更新世晚期地层的证据。三义断层南段,在三义乡上湖西南方,三义断层的断层破损带宽度可能超过400公尺,上盘并有分支断层;大甲溪北岸断层带宽约30公尺,断层破损带宽约500公尺,上盘出露数条分支断层;其中分支断层SF5错移低位河阶面及一层灰黑色土壤层,造成约50公分的垂直移距。由钻探结果位于车笼埔断层下盘的断层带,可能是桂竹林层或更老的地层逆冲至头嵙山层之上,此断层可能是三义断层的向南延伸,因此三义断层有可能向南延伸至丰原潭子地区。由近期的大地测量结果显示,跨三义断层并没有明显的高程差变化量。
三义断层,截切低位的河阶砾石层与河床上的土壤层,研判断层在全新世曾经活动。

三义断层条带地质图。(座标系统:TWD67)
大甲断层
为逆移断层,呈北北东走向,由苗栗县通霄附近经大甲、甲南、清水、沙鹿至台中县大肚,长约30公里。断层南段由甲南至大肚的部分,以往称为清水断层(张徽正等,1998;林启文等,2000b),长约22公里。
总结与评估
大甲断层有明显的线状崖,但是野外尚未发现断层露头。由野外调查与钻探岩芯中的岩层比对结果,地表浅处大甲断层的垂直移距约50~70公尺,断层前缘已截切穿出地表,但断层迹可能为崩积层或冲积层所覆盖,因此在地表未发现露头。大甲断层南段,野外也未发现断层露头,而由钻探结果显示断层的前缘已接近地表,并造成阶地崖前缘局部剪切带。大甲断层截切更新世晚期的地层,可能在全新世活动过。

大甲断层与铁砧山断层条带地质图。(座标系统:TWD67)
铁砧山断层
为逆移断层,呈北北东走向,由台中县大甲镇铁砧山北缘向南延伸至沙鹿后并入大甲断层,长约13公里。本断层又称大甲东断层(林朝棨,1957),位于大甲断层东侧,可能是前者的背冲断层。
总结与评估
铁砧山断层,可能是大甲断层向西逆冲时上盘所形成的背冲断层,由于截切更新世晚期的地层,可能在全新世活动过。
大甲断层与铁砧山断层条带地质图。(座标系统:TWD67)
铁砧山断层
为逆移断层,呈北北东走向,由台中县大甲镇铁砧山北缘向南延伸至沙鹿后并入大甲断层,长约13公里。本断层又称大甲东断层(林朝棨,1957),位于大甲断层东侧,可能是前者的背冲断层。
总结与评估
铁砧山断层,可能是大甲断层向西逆冲时上盘所形成的背冲断层,由于截切更新世晚期的地层,可能在全新世活动过。

大甲断层与铁砧山断层条带地质图。(座标系统:TWD67)
屯子脚断层
为1935年台中大地震形成的地震断层,为右移断层,呈东北东走向,由台中市泰安,向西南延伸经泉州厝、后里、内埔(屯子脚)、犁头标,跨越大甲溪,向南延伸至新庄、东山(十块寮),长约12公里(大冢弥之助,1936;大江二郎,1936;林启文等,2000,2008)。
总结与评估
屯子脚断层,为1935年地震造成的地震断层,现在仅后里台地东北仍残留一地形崖。地球物理探勘结果,主断层面接近垂直,浅部断层带约数百公尺宽,呈现压缩型花状构造;钻探结果,仅局部砂岩有剪切的现象,未找到屯子脚断层的主断层;后里台地最上部的阶地堆积层沉积之后,只有1935年地震造成的地震断层截切红土台地堆积,因此红土砾石层堆积后可能仅有1次断层活动。
近期的大地测量结果,跨过屯子脚的速度场变化量,以右移形式为主,并兼具压缩特性,但变化量并不明显,精密水准测量结果也显示跨屯子脚断层并没有明显的高程变化量。屯子脚断层。

屯子脚断层条带地质图(1/2)

屯子脚断层条带地质图(2/2)
彰化断层
为逆移断层,呈北北西转南北走向,由彰化县和美镇向南延伸至田中附近,(林朝棨,1957;中国石油公司,1982;石再添与杨贵三,1985;张徽正等,1998)。断层向北可能连接大肚台地西缘的大甲断层,向南可能连接桐树湖断层,长约36公里。
总结与评估
彰化断层在八卦台地北段西缘呈现直线状崖,这些崖状特征是否为断层崖、断层线崖或差异侵蚀的结果,目前仍不清楚。彰化断层在地表并未发现断层露头,由地球物理探勘结果可能为向东倾斜的逆移断层。
由钻探资料与岩层比对结果,八卦台地之下的岩层层序似乎有因彰化断层的逆移作用而重覆出现的现象,该岩层的时代约距今29,230年前,因此断层可能截切晚期更新世的地层。由于该重覆的层序位于井深25公尺以内,因此彰化断层北段可能逆冲至地表附近,但被现代冲积层或山麓堆积物所掩覆,以致地表尚未发现露头。至于花坛以南,八卦台地与西侧彰化海岸平原之间岩层相当连续,断层可能尚未延伸至地下浅处,或被山麓堆积物所掩覆。
由近期的大地测量结果显示,跨彰化断层的水平速度场变化量,在1999年集集地震前及地震后均不显著,且以压缩形式为主。水准测量结果显示,除接近员林地区有明显的高程变化之外,其他地区并不显著。
由于受冲积层掩覆,彰化断层是否向北连接大甲断层,或向南连接桐树湖断层,仍待进一步调查。彰化断层北段可能逆冲至地表附近,但被现代冲积层或山麓堆积物所掩覆。

彰化断层条带地质图。测线名称加框示测线位置重复或邻近(座标系统:TWD67)
车笼埔断层
为逆移断层,为了方面叙述,本文以乌溪为界分为2部分:北段约呈南北走向,由台中县丰原市北阳里向南延伸至雾峰乡,长约38公里,在1999年集集地震时,石冈以东至苗栗县卓兰镇也形成地表破裂与地面隆起,长约16公里(经济部中央地质调查所,1999;李元希等,2000);车笼埔断层南段约呈南北走向,由南投县草屯向南延伸至竹山镇岭脚附近,长约38公里(林启文等,2000b)。在丰原以北,断层可能连接三义断层;竹山以南,断层连接鹿寮断层与大尖山断层(林启文等,2000b)。
总结与评估
车笼埔断层,由错移地层的关系,最早认为断层向北连接三义断层,向南连接大尖山断层;上述3条断层的下盘均出露头嵙山层,但是三义断层上盘出露东坑层(或南庄层),而车笼埔断层上盘出露锦水页岩或卓兰层,大尖山断层上盘则出露桂竹林层。由钻井资料显示,车笼埔断层北段在其下方有另一条断层,桂竹林层逆冲于头嵙山层之上,该断层虽未出露地表,但延伸至地表的位置约位于三义断层的断层迹,两者的接触约在丰原附近。至于车笼埔断层南段则连接鹿寮断层,并与大尖山断层的特性有所不同,虽然后者在集集地震时也有活动。
1999年集集地震时所形成的地表破裂,很多地区在地表上显现宽广的断层带,地表所见的断层崖、单斜崖与挠曲崖等,是由主断层分叉而出、且位于上盘的分支断层反应在地表的特征。地震断层在山麓前缘,也就是山麓与平原的交界处,大多位于锦水页岩的底部;山麓区内,常位于车笼埔断层上盘的锦水页岩层中或是位于卓兰层的底部。
由车笼埔断层的古地震研究结果,过去3,000年以来共有7次地震事件造成地表破裂,包括西元1999年、距今365 ± 65年前、距今735 ± 55年前、距今905 ± 15年前、距今1,540 ± 160年前、距今1,805 ± 95年前与距今3,000 ± 160年前;最后6次地震之间的发生时距最小约200年,最长约700年;最早的2次古地震的时距相距约1,200年,可能还有许多次的古地震事件未被发现。车笼埔断层的长期滑移速率为每年6.94公厘,发震模式属于时间可预测的再发性模式,以长期的滑移速率来推估车笼埔断层下次可能的地震时间,约西元2340 ± 95年。

车笼埔断层条带地质图。A:丰原以东的部分。 (座标系统:TWD67)
车笼埔断层条带地质图。B:丰原至乌溪部分。测线名称加框示测线位置重复或邻近(座标系统:TWD67)

车笼埔断层条带地质图。C:乌溪以南的部分。测线名称加框示测线位置重复或邻近(座标系统:TWD67)
大茅埔-双冬断层
为逆移断层,以大甲溪为界分为2段:北段称为大茅埔断层(何春荪,1959),呈东北走向,由台中县和平乡乌石坑,向西南延伸至东势镇庆东里(大茅埔),长约14公里;南段称为双冬断层(大江二郎,1938),约呈南北走向,由大甲溪南岸新社乡向南延伸至南投县鹿谷乡,长约55公里。
总结与评估
大茅埔-双冬断层截切头嵙山层砾岩,其形成时代在更新世中晚期以后。在1999年集集地震当时,大茅埔-双冬断层有地表破裂现象,并未有明显的大量位移,但沿断层迹有喷沙或喷泥现象;在地震时断层上盘也有明显的抬升现象,显示断层仍有再活动趋势。
由地壳变形监测结果,大茅埔-双冬断层在1999年集集地震前上下盘即有位移速度差;在集集地震时上下盘有明显的水平速度差,在大地震之后6年地壳仍处在调适变形状态。精密水准测量结果则显示,大茅埔-双冬断层两侧高程差变化并不显著。

大茅埔-双冬断层条带地质图。A:大茅埔断层。 (座标系统:TWD67)

大茅埔-双冬断层条带地质图。B:双冬断层,乌溪以北。 (座标系统:TWD67)

大茅埔-双冬断层条带地质图。C:双冬断层,乌溪以南。 (座标系统:TWD67)
初乡断层
(刘桓吉与李锦发,2000;林启文等,2019),为逆滑断层,呈东北走向,北由南投县中寮乡广兴,向南延伸经浊水溪、东埔蚋溪至竹山南方,再并入车笼埔断层,断层迹长约19.8公里。
总结与评估
初乡断层北段,由中寮乡广兴向南延伸,经浊水溪向南延伸,在竹山附近并入车笼埔断层。广兴以北断层为推测,无法确认其是否连结双冬断层。
初乡断层截切年代距今13,585yr的更新世阶地堆积物(Chen et al., 2003)。

初乡断层条带地质图(1/2)。广兴以北地区,断层为推测。原图比例尺1/25,000。

(续)初乡断层条带地质图(2/2)。原图比例尺1/25,000
九芎坑断层
为逆移断层,约呈北北东走向,由云林县古坑向南延伸至嘉义县竹崎附近,长约17公里(中国石油公司,1986;张徽正等,1998;林庆伟等,1999;林启文等,2000c;刘彦求等,2003)。
总结与评估
由野外地质调查结果,九芎坑断层是一条逆移断层,北起荷苞山南侧,向南经梅山到竹崎南方水景头附近,断层长度约17公里。九芎坑断层带的宽度在石牛溪剖面约850公尺,由数条分支断层所构成,愈往南断层带的宽度逐渐减小。在地形上,断层造成数条平行的小崖,此一特征由石牛溪向南可追踪到梅山乡九芎坑附近,而至竹崎以南地形特征则渐不明显。
由九芎坑断层截切的阶地砾石层的定年结果,距今47,100+1,750年至18,540±130年之间至少有一次活动纪录,而距今18,540年前以来也曾经活动过;由于标本采自低位的河阶砾石层,研判九芎坑断层最晚的活动时间可能更年轻。
由大地测量的结果,在1996~1999年间,九芎坑断层在两侧断盘的平均水平位移速度皆小于10公厘/年,而1999~2005年间的平均位移场则显示,断层上盘与下盘的速度向量差约13 公厘/年。近断层的速度场变化则显示,1996~2005年间横跨九芎坑断层的平行断层走向的水平分量均小于1.0公厘/年;在1999~2005年间垂直断层走向的水平分量,由0.2公厘/年,增加至9.7公厘/年;这些资料指示九芎坑断层具有相当的活动潜势,而近期的运动方式为逆移形式兼具左移分量。

九芎坑断层条带地质图。图中包含地球物理测线、钻探与槽沟开挖位置。(座标系统:TWD67)
梅山断层
为右移断层,呈东北东走向,由嘉义县梅山乡梅南村向西延伸至民雄乡东湖村,长约13公里(张徽正等,1998;林启文等,2000c)。 1906年梅山地震(规模7.1)所造成的地震断层,当时的地表破裂称为梅仔坑断层与陈厝寮断层(Omori, 1907a, b)。
总结与评估
梅山断层在1906年诱发地震并产生地表破裂,断层东段目前仍保留许多地形特征。浅层反射震测结果,梅山断层在近地表处呈现带状分布,主断层为高角度向南倾斜,地表下构成的破裂带宽度可达450公尺;断层延伸至中坑以西,可能以潜伏方式持续向西延伸。由地形地质、地质钻探与古地震的调查结果研判,梅山断层可能活动过多次,但1906年以前的活动年代与活动周期仍不清楚。
由大地测量结果,梅山断层东段的高程变化量相较西段有较显著的改变,而GPS测量结果,梅山断层近期运动方式主要为右移形式。

梅山断层条带地质图。(座标系统:TWD67)
大尖山断层
依断层的特性可以分为2段:北段,为逆移断层兼具右移性质,约呈东北走向,由南投县竹山镇岭脚附近向西南方向延伸至云林县古坑乡樟湖附近,为内磅断层(又称樟湖山断层或古坑断层)所截,本段在1999年集集地震时曾活动(经济部中央地质调查所,1999a, b;林启文等,2000b);南段,为逆移断层,由东北走向转东南走向,由古坑乡樟湖延伸至嘉义县竹崎乡金狮寮;总长约25公里(中国石油公司,1986;黄鉴水等,1994;刘桓吉与李锦发,1998;张徽正等,1998;林启文等,2000b)。断层北端在竹山镇岭脚附近与鹿寮断层连接,南端在金狮寮附近与水社寮断层及触口断层连接。
总结与评估
大尖山断层依地质特性可分为2段。北段由南投县竹山镇岭脚,向西南方向延伸,经桶头、至樟湖山附近为内磅断层所截,在1999年集集地震时有活动,近地表为右移形式;在桶头以南至桶头尾,地表可能产生分叉现象,分支断层延伸约500公尺后并回主断层。大尖山断层的南段由樟湖山附近向西南延伸至嘉义县竹崎乡金狮寮与水社寮断层、触口断层连接,但缺少可供观察的露头。
由地壳变形的监测结果,大尖山断层在1996~1999年间,上下盘的水平位移变化量不大,但1999年集集地震后上下盘的水平位移变化量超过100 公厘/年,至2005年之后,断层上下盘的水平位移变化量逐渐回复至5~30公厘/年。横跨断层的速度场变化,在1996~1999年间呈左移形式兼具逆移性质;2000~2005年间的速度场变化量,为逆移形式兼具右移分量;2003~2005年的精密水准测量结果明显的变化量,高程变化量则维持在10~20公厘之间;这些资料指示大尖山断层仍具相当的活动潜势。

大尖山断层条带地质图。图中显示地球物理测线与钻探位置。(座标系统:TWD67)
木屐寮断层
为逆移断层,呈北北东走向,由台南县白河乡头崎内里向南延伸至六重溪北岸崁内里,长约7公里(Sun, 1970;张徽正等,1998)。
总结与评估
木屐寮断层在航照上呈现明显线形,更新世晚期地层受到倾动,但地表尚未发现断层露头,可能为盲断层。由地球物理探勘结果,在木屐寮断层西侧地下浅部可能有分支断层存在。
由GPS测量结果,除了受到集集地震的影响以外,2002年以后木屐寮断层两侧岩层的水平位移有明显变化量,显示断层两侧为压缩形式的逆移断层的特性。

木屐寮断层条带地质图。(座标系统:TWD67)
六甲断层
为逆移断层,呈北北东转南北走向,由台南县白河乡头崎内里的六重溪南岸向南延伸至台南县官田乡社子村,长约21公里(石再添等,1986;张徽正等,1998;林启文等,2000a;杨志成等,2005)。
总结与评估
六甲断层在地形上呈现明显的线形,而由钻探结果证实六甲断层的存在,在近地表处为一向东倾斜30度的断层,但此断层可能尚未穿出地表,而断层的形成方式可能是沿着向斜轴部发育的逆移断层。
由野外露头、钻井及定年资料的分析结果,六甲断层的长期垂直滑移速率约为5.5~6.3公厘/年,长期水平滑移速率约为11.0~12.7公厘/年。依据GPS监测结果,1999~2005年间九芎坑断层-木屐寮断层-六甲断层系统间有明显的速度差异,在断层上下盘的速度向量变化量约13 公厘/年;而2003~2005年间六甲断层上下盘的水平位移并未有明显的变化量。由近断层的水平位移剖面结果,1999~2006年间横跨六甲断层的速度场变化显示断层为逆移形式兼具右移分量。
六甲断层确认截切更新世晚期地层,在地下浅部截切全新世地层。

六甲断层条带地质图。(座标系统:TWD67)
触口断层
为逆移断层,依地质特性分为2段:北段呈南北走向,由嘉义县竹崎乡金狮村向南延伸至番路乡触口村;南段约呈北北东走向,由触口村向南延伸至台南县白河镇关岭里(吉田要,1931);两段长度合计约28公里。断层北端在福建坪附近与大尖山断层以水社寮断层连接,断层南端在关子岭附近与仑后断层连接。
总结与评估
触口断层依据位态与特性将其分为2段。由地球物理探勘结果,触口断层的断层带宽度可能超过100公尺,断层带内有许多滑动面,其内岩层有褶皱变形现象。
由断层两侧层位落差的分析,触口断层上盘相对下盘的长期滑移速率约14.0公厘/年。 1990~1997年间,触口断层上下盘的水平位移变化量,在北段约6.3公厘/年,南段约13公厘/年。 1999~2005年间,触口断层上下盘的水平位移变化量约18公厘/年,而无明显的高程变化;近断层水平位移分析结果,横跨触口断层的速度场变化显示,触口断层于1999~2006年间为逆移形式。
根据地壳变形监测结果,触口断层两侧的位移量变动量相当大。

触口断层地质图。图中指示钻井位置与地球物理测线。(座标系统:TWD67)
口宵里断层
(鸟居敬造,1932),呈北北东走向,为逆断层,断层面向西倾斜。断层北起台南市楠西区,经玉井至左镇附近,长约21公里。
总结与评估
口宵里断层,由曾文二号桥向南延伸至左镇区东平,长约21公里,曾文二号桥以北尚缺乏断层延伸的证据。曾文溪刘陈湾断层逆冲至阶地砾石之上,研判12, 670 ± 40yr BP阶地堆积后可能有2次事件。
口宵里断层为乌山头断层的背冲断层(backthrust),均位于变动速率相对较高区域,推测乌山头断层可能也属于活动断层,惟仍需要进一步的岩层证据。

口宵里断层条带地质图(1/2)。原图比例尺为1/25,000。修改自何信昌等(2005)。

(续)口宵里断层条带地质图(2/2)。原图比例尺为1/25,000。修改自何信昌等(2005)。
新化断层
为右移断层,呈东北东走向,由台南县新化镇那拔里向西延伸至北势里,长度约6公里(张丽旭等,1947)。 1946年12月5日芮氏规模6.3的地震,为新化断层的再活动所造成(张丽旭等,1947)。
总结与评估
新化断层沿线的线形与1946年大地震后调查的断层位置相吻合;沿线地形特征也指示过去即活动过多次;由钻井岩芯中观察到的剪切叶理与岩芯对比,研判断层的倾角相当陡;由畜产试验所地面裂隙的分析结果,研判新化断层近期的活动以潜移作用为主。
新化断层有多次古地震事件,除最近的1946年地震之外,前一次约发生于1,200年前至1900年前之间,而在1900年前至10000年前之间至少有另1次古地震事件,保守估计在10,000年内至少有3次古地震事件。
由1999~2005年的GPS测量结果,新化断层两侧的水平速度场增加约20 公厘/年,显示新化断层的运动以右移形式为主。由1999~2006年间横跨新化断层的速度场变化显示,主要位移方向平行断层的走向,显示断层在1999~2006年间为右移形式。

新化断层条带地质图。图中显示地球物理测线、钻探与槽沟位置。(座标系统:TWD67)
后甲里断层
为逆移断层,约呈南北走向,由台南县永康向南延伸至虎山,长约12公里(林朝棨,1957;Sun, 1964)。
总结与评估
藉由钻井资料,可确定后甲里断层确实存在;配合地球物理探勘结果,与井下岩芯剪切变形带的深度分布,可确定后甲里断层为一向西倾斜的逆移断层;断层并未截穿至地表,属于盲断层的形式。
由GPS测量分析结果,后甲里断层上下盘的水平位移速度有明显变化量;由跨断层剖面速度场变化分析结果,1999~2006年间后甲里断层为为逆移形式兼具右移分量。精密水准测量结果,在台南台地相对邻近地区有约15公厘/年的垂直位移,显示台地有明显的抬升趋势,研判后甲里断层为一活跃的构造。
后甲里断层,错移现象位于六双层内,其断层前缘研判造成台南层的褶皱与小型破裂。

后甲里断层条带地质图。(座标系统:TWD67)
左镇断层
为左移断层,约呈西北走向,由台南县山上乡新庄附近至南化乡心仔寮附近,长约10公里(Wang, 1976;中国石油公司,1989;张徽正等,1998;林启文等,2000a)。
总结与评估
左镇断层,最早由卫星影像辨认出线形,经野外调查发现沿断层线形位置有小型断层泥带,并常群聚拼合成一宽约数公尺至十数公尺的断层泥带,但仅局限于断层西段。左镇断层为具左移性质的横移断层,而其活动时代在六双层沉积后,约更新世晚期。
依据GPS测量资料分析结果,左镇断层两侧仍有明显的水平速度变化量,跨断层的速度场变化分析结果,1996~2006年间的运动为逆移形式兼具右移分量。

左镇断层条带地质图。(座标系统:TWD67)
小岗山断层
可能为逆移断层,呈北北东走向,由高雄县阿莲乡南莲村向南延伸至燕巢乡琼林村(Sun, 1964),长约8公里。
总结与评估
小岗山断层原本被列为存疑性活动断层,虽然有地形崖特征,但经由野外地质调查、地质钻探以及地球物理探勘结果,均未发现地表有断层存在证据,而由地表下的构造形态可能是由多组与层面略平行的断层因为差异滑移而造成地表浅部全新世地层的挠曲,因此构造型态仍属于盲断层,由于宽广的断层带中,很难确切将巨视的断层位置订定在特定的滑动面上,地表的可能断层迹也很难确认或绘出,但是由岩层截切年代分析,小岗山断层仍具有活动的潜势。

小岗山断层条带地质图。(座标系统:TWD67)
车瓜林断层
为逆移断层,由高雄市内门区向南延伸至高雄市桥头区,北段呈北东走向,南段转为东北东走向,长约25公里。中油公司台探总处(1989)将大廍亭山以南的本断层,连接西北走向的龙船断层,但是此段在两侧地层、断层特性与延伸位置与龙船断层均有所差异,林启文等(2012)命名为车瓜林断层,以区别两者。
总结与评估
车瓜林断层,为逆移断层,在南势湖剖面以北约呈N20oE走向延伸至内门市区南侧,由一个主断层以及多个分支断层组成的断层带,宽度约30-130公尺;燕巢以南,线形崖逐渐转至S60oW走向延伸至桥头东侧。
由线状崖排钻取样定年,车瓜林断层距今7,500年以来曾经活动过。

车瓜林断层条带地质图(1/3)。原图比例尺为1/25,000。

(续)车瓜林断层条带地质图(2/3)。原图比例尺为1/25,000。

(续)车瓜林断层条带地质图(3/3)。原图比例尺为1/25,000。
旗山断层
为逆移断层,呈北东走向,由高雄县旗山镇附近向南延伸至高雄县仁武附近(图11.1),长约30公里(吉田要,1932;鸟居敬造,1933;耿文溥,1967;Tsan and Keng, 1968)。以往认为断层向北连接内英断层(大井上义近等,1928),最近的调查结果显示两断层的特性不同(陈文山等,2005b)。有关内英断层的特性将附载于后。
总结与评估
旗山断层,为逆移断层,呈东北走向,由一个主断层以及多个分支断层组成的断层变形带,变形带宽度约40-400公尺之间,主断层的变形带宽度为9-30公尺。旗山断层主断面擦痕及断层带中破裂面上的擦痕,均反应断层的运动形式为逆滑兼具左滑性质。旗山断层近期的大地测量结果,仍有明显的压缩量,显现逆移断层的特性。

旗山断层条带地质图。(座标系统:TWD67)
潮州断层
为逆移断层兼具左移性质,呈南北走向。断层可以分为2段:北段由高雄市六龟区宝来村向南延伸至屏东县三地门乡大津村,长约28公里,本段又称土垄湾断层(鸟居敬造,1933),南段由大津村向南延伸至枋寮乡加禄村,长约61公里(Tomita, 1955),总长约89公里。在六龟以北,土垄湾断层也称为樟山断层(詹新甫,1964)。
总结与评估
潮州断层为高角度向东倾斜的逆移断层,兼具左移性质。断层的北段为阶地砾岩层或冲积扇砾石层所掩覆,为盲断层的形式;而在断层南段的新埤附近,断层在近地表处造成冲积扇砾石层的挠曲,板岩逆冲于砾石层之上,研判潮州断层在更新世晚期可能有活动。

潮州断层条带地质图。A:北段,潮洲断层又称土垄湾断层。 (座标系统:TWD67)

潮州断层条带地质图。B:南段(北幅)。 (座标系统:TWD67)

潮州断层条带地质图。C:南段(南幅)。 (座标系统:TWD67)
恒春断层
为逆移断层,呈北北西走向,由屏东县车城乡海口向南延伸至恒春镇南湾,长约16公里(詹新甫,1974)。
总结与评估
恒春西台地北段相对于恒春半岛的抬升速率大于10 公厘/年,显示恒春西台地的倾斜作用仍持续中,研判在恒春半岛西侧海域中应存在一逆移断层,造成恒春西台地的倾斜,以及恒春谷地的相对下陷。由近期的大地测量资料显示,恒春断层两侧位移速率并未有明显的差异,而近期恒春半岛的地表变形则明显受到2006 年外海地震的影响。

恒春断层条带地质图。(座标系统:TWD67)
米仑断层
为左移断层兼具逆移分量,约呈南北走向,由花莲县七星潭海岸向南延伸至花莲市美仑山西南侧,长约8公里(Hsu, 1956)。本断层又称花莲断层(林朝棨,1962)或美仑断层(杨贵三,1986)。
总结与评估
米仑断层,是1951年地震的地震断层,由地表破裂分析与地形分析结果,可能有多次活动的迹象。以往曾经将断层向南延伸至木瓜溪附近,而由近期的地形地质与地球物理探勘结果,在吉安乡就没有发现断层存在的证据。由测量结果显示米仑断层为左移兼具逆移形式。

米仑断层条带地质图。(座标系统:TWD67)
岭顶断层
可能是左移断层兼具逆移性质,呈北北东走向,由花莲溪出海口的岭顶岬向南延伸,经月眉至光复乡东富村(陈文山等,2008),长约30公里。在断层上盘有一系列断续出现的线状崖,原被称为月眉断层(林启文等,2000)。
总结与评估
岭顶断层位于海岸山脉西缘与台东纵谷的交界,地表上并未发现断层地形特征,断层可能被山麓冲积扇与冲积平原所掩覆,由GPS测量结果显示断层迹两侧明显在垂直与水平的速度场有变化,暂列为第二类活动断层。以往所称的月眉断层,是一些断续的地形崖与小型断层的总称,这些小型断层多位于都銮山层中,其形成时间可能在山麓冲积扇形成之前,而岭顶断层可能是海岸山脉向西与向北运动所形成的前缘断层。

岭顶断层条带地质图。(座标系统:TWD67)
瑞穗断层
为逆移断层兼具左移性质,呈东北走向,由光复乡东富村向南延伸至玉里镇春日里(陈文山等,2006;林启文等,2007;陈文山等,2008),长约33公里。本断层一部分属于徐铁良(1962)所称玉里断层的北段。瑞穗断层向南延伸在春日附近与奇美断层连接。
总结与评估
瑞穗断层,以往称为玉里断层的北段,由于两者的断层特性不同,特别分出。本断层也是1951年11月25日地震的地震断层。除了1951年的地震之外,尚有3次古地震事件,古地震的活动周期约190±20年。

瑞穗断层条带地质图。(座标系统:TWD67)
奇美断层
为逆移断层,呈东北走向,由玉里镇春日里向东北延伸,经德武、奇美村至花莲县丰滨,长约30公里(Hsu, 1956)。断层南端在春日里附近连接瑞穗断层与池上断层。
总结与评估
奇美断层将海岸山脉分隔成南北2段,断层截切更新世晚期的阶地砾石层。

奇美断层条带地质图。(座标系统:TWD67)
玉里断层
为左移断层兼具向东逆移分量,呈北北东走向,由花莲县瑞穗乡瑞良村向南延伸至玉里镇长良里(图1),长约26公里。玉里断层是1951年11月25日纵谷中部地震的地震断层(徐铁良,1955),2022年9月18日池上地震时,玉里镇大禹里以南断层沿线也产生地表破裂,而在长良里产生3公里长的新断层,大禹里产生延伸750公尺的新断层。
总结与评估
玉里断层,在舞鹤砾岩沉积后才活动,1951年11月25日花东纵谷中段地震时,形成地表破裂现象;2022年9月18日池上地震时,从大禹以南也同样产生地表破裂现象,在乐乐溪至秀姑峦溪之间的长良地区,形成3公里新断层,在大禹里形成长度约750公尺的新断层。玉里断层,可能是位于中央山脉板岩层与花东纵谷缝合带之间的断层。

玉里断层条带地质图(1/2)。 (座标系统:TWD67)

玉里断层条带地质图(2/2) 。 (座标系统:TWD67)
池上断层
为逆移断层兼具左移分量,约呈北北东走向,由花莲县玉里镇春日里向南南西方向延伸,经台东县池上乡万安至鹿野乡瑞隆(Hsu, 1956;张徽正等,1998;林启文等,2000,2009,2021),长约67公里。
总结与评估
池上断层除了1951年地震造成的地表破裂外,2003年12月10日地震也造成部分地区地表破裂,2022年9月17日与9月18日地震也造成沿线地表破裂现象;此外,断层持续有潜变现象。过去800年以来,池上断层至少有5次的古地震事件,每次事件断层垂直位移数十公分,最大位移量约60公分。池上断层长期抬升速率超过20公厘/年,水平位移速率约为30公厘/年,推估断层的活动周期为50-160年。

池上断层条带地质图(1/5)。

池上断层条带地质图(2/5)。

池上断层条带地质图(3/5)。

池上断层条带地质图(4/5)。

池上断层条带地质图(5/5)。
鹿野断层
为逆移断层,约呈南北走向,由台东县鹿野乡鹿寮向南延伸至卑南乡槟榔附近,长约17公里(林朝棨,1957)。
总结与评估
鹿野断层位于卑南山砾岩与板岩层的接触带,呈南北走向、向东倾斜,因此代表板块缝合带的最西界。断层在板块碰撞时就已存在,其后在卑南山砾岩沉积同时可能停止活动一段时间,至于鹿野龙田阶面的错移地形面,或挠曲崖特征,显示该阶地形成后又有活动。此外,槽沟挖掘显示全新世沉积层已受到褶皱与断层剪切作用。

鹿野断层条带地质图。(座标系统:TWD67)
利吉断层
为逆移断层,北北东走向转南南东走向,由台东县新良一带,向南延伸经鸾山西侧河床至岩湾后,转向东南隐伏于台东市冲积层下方,长约23.1公里(Hsu, 1956;Hsu, 1976;Bonilla, 1975;林启文等,2004;纪权窅,2007;陈文山等,2008)。
总结与评估
利吉断层分隔东侧(上盘)利吉层与西侧卑南山砾岩,为兼具左移分量的逆移断层。透过大地测量资料,震间地壳变形运动以水平为主,位移速率约20公厘/年,主要为利吉断层造成的变形。由槽沟开挖与地质井资料显示利吉断层在全新世以后确实有活动现象,且在2022年关山地震沿利吉断层也有地表破裂现象。

利吉断层条带地质图(1/2)。 (座标系统:TWD97)

利吉断层条带地质图(2/2)。 (座标系统:TWD97)
结语

台湾岛36条断裂带(图源中央地质调查局)
综合36条断裂带计算出台湾岛最大加速度上述分析,台湾岛地震危险度评估已由传统“单一活动断层”的观点,逐步转向整合多元震源的区域性地震模型。过去相当数量的地震事件,并未能明确对应到已知的地表活动断层,例如2010年甲仙地震及近期个案,皆发生于未出露地表的盲断层之上。这类断层因缺乏明确的地表形貌证据,难以透过野外地质调查识别,却同样具备累积应变与释放能量的能力,对地震灾害构成不可忽视的威胁。正因如此,台湾岛地震模型大量引入气象局数十年来的地震观测资料,以区域性地震发生频率为基础,刻画次要断层与盲断层的整体活动特征,从而弥补地表断层资料的不足。在此基础上,进一步整合活动断层发震机率,建立涵盖所有潜在震源的台湾岛地震危害分布图。由于该评估同时考虑了多种地震来源,其估算结果自然高于仅针对单一断层的危险度。为配合地震工程应用,研究亦提供不同结构周期的反应频谱振幅,分别对应低矮建筑(约0.3秒)与中高层建筑(约1.0秒)的地震反应特性。结果显示,嘉南平原与花东纵谷为全台相对高危险区,且低矮建筑物承受的地震动强度更为显著,凸显加强耐震设计与区域性防灾规划的迫切性。

台湾岛各断层加速度参数(图源:中央气象局)
根据台湾岛地震模型评估,未来20年内台湾岛各孕震构造的发震概率显示了区域性地震风险的显着差异。模型基于孕震构造的活动速率、再生周期、规模及最后一次突破时间,分析特征地震的可能性。
结果显示,未来20年规模6.5及以上地震的综合发生概率为86%,其中规模6.7为64%,规模7.0为22%。在具体构造中,花东纵谷断层(Mw 7.0-7.5)表现出显着风险,发震概率达到25%。此外,太原里海岸线构造带(Mw 6.7)和南宜兰构造带(Mw 6.7)和南宜兰构造带(Mw 7.0-7.5)表现出显着风险,发震概率达到25%。 6.4)的发震概率分别为12%和15%。中部和西部的构造如彰化断层(Mw 7.2)和新竹断层(Mw 6.7)风险较低,分别为4%和6%。然而,北部和东部的风险集中程度较高,例如初音构造(Mw 6.0)的发震概率为17%,北宜直接构造(Mw 6.7)为8%。总体来看,台湾岛东部及沿海地区地震风险突出,防震减灾工作需特别关注高风险断层区域,并加强对这些区域的监测和应急准备。这些数据为未来20年的地震灾害防护和风险管理提供了重要参考依据。

台湾岛未来20年地震风险(图源:Taiwan geology)
根据台湾岛地震模型,未来30年内各孕震构造的发震概率显示出不同区域的地震风险分布。地震模型评估参考了各构造的平均活动速率、重现周期、规模以及最近一次地震爆发时间。
模型指出,规模6.5及以上的地震在未来30年的综合发生概率为96%,其中规模6.7的概率为81%,规模7.0的概率为37%。在具体构造中,凤山丘陵滑移构造(Mw 6.7)的发震概率为10%,而规模扩大的花东纵谷断层(Mw)另外,太原里海岸线构造带(Mw 6.7)和北宜直线构造带(Mw 6.7)的风险分别为18%和8%。西部的彰化断层(Mw 7.2)和新竹断层(Mw 6.7)分别为4%和6%。东部和北部区域整体威胁突出,如南宜兰构造(Mw 6.4)和初音构造(Mw 6.0),发震发生概率分别达到22%和24%。这些结果表明,地震风险具有明显的区域特征,未来的防震减灾工作需重点关注高风险构造。综合来看,此分析为台湾未来30年地震防御和减灾规划提供了科学依据,同时提醒公众在高风险区域做好防震准备。

台湾岛未来30年地震风险(图源:Taiwan geology)
根据台湾岛地震模型计算,未来50年台湾岛孕震构造的发震概率显示,不同区域的地震风险存在显着差异。模型结合各构造的活动速率、重现周期、规模及最后一次突破时间,评估了特征地震的发生可能性。
山脚断层(Mw 7.0)的未来50年内发震可能性为6%,而磺溪断层(Mw 6.8)则高达15%。此外,规模扩大的地震(Mw ≥ 6.5)在未来50年的综合概率达到99%,其中规模为6.7的地震概率为94%,规模为7.0的地震概率为54%。 6.7)和彰化断层(Mw 7.2)的发震概率分别为6%和4%,而东部地区如中部构造山脉带(Mw 7.4)则显示出28%的同等风险。东部地区的构造,如太原里海岸线构造带(Mw 6.7),发震概率为28%。总体来看,台湾岛地震承担区域性部署,西部与东部均存在高风险断层。其中,复合断层的应对风险也需要特别关注,如凤山丘陵断层(Mw 6.8)的风险最为突出。通过这些数据,可以为未来地震灾害的预防和区域防灾规划提供重要参考。

台湾岛未来50年地震风险(图源:Taiwan geology)
来源: 构造地球科学
科普中国公众号
科普中国微博

帮助
构造地球科学 